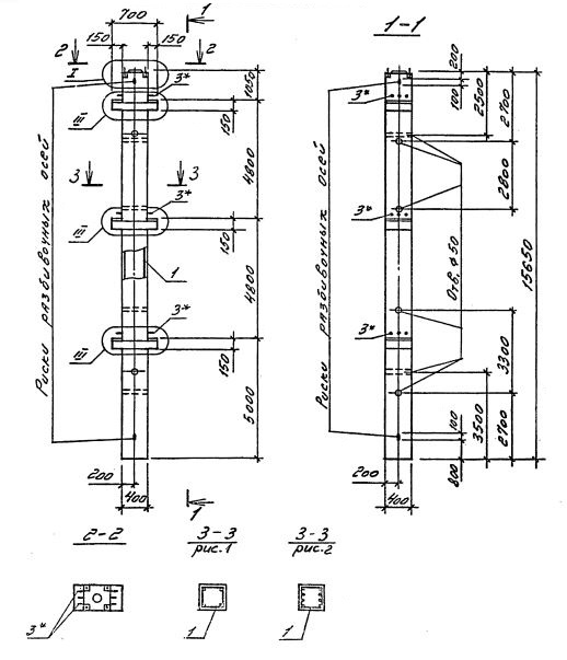
3КНД 48.48
Характеристики изделия:
| Параметр | Значение |
|---|---|
| длина | 15650 мм |
| ширина | 400 мм |
| высота | 700 мм |
| масса | 6400 кг |
| нормативный документ | Серия 1.020.1-4 |
Цена:
Рассчитать стоимость3КНД 48.48 Колонны двухконсольные для нижних этажей (Серия 1.020.1-4).
Маркировка с учетом диаметра угловых и промежуточных стержней арматуры, в мм. и марки бетона:
3КНД 48.48-3.20.00
3КНД 48.48-3.22.00
3КНД 48.48-3.28.00
3КНД 48.48-3.32.00
3КНД 48.48-4.32.00
3КНД 48.48-3.36.00
3КНД 48.48-4.36.00
3КНД 48.48-3.40.00
3КНД 48.48-4.40.00
3КНД 48.48-5.40.00
3КНД 48.48-5.32.28
3КНД 48.48-6.36.32
3КНД 48.48-5.40.22
3КНД 48.48-6.40.22