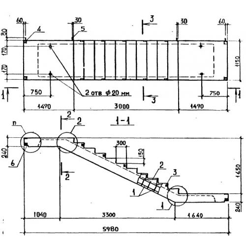
ЛМП 60.11.17

Чертеж изделия:
Характеристики изделия:
ПараметрЗначение
длина5980 мм
ширина1150 мм
высота1650 мм
вес2500 кг
серия1.050.1-2

ЛМП 60.11.17 Лестничные марши ребристые с полуплощадками по серии 1.050.1-2.