1ПК 30.6

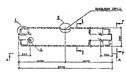
Чертеж изделия:
Характеристики изделия:
ПараметрЗначение
длина2980 мм
ширина590 мм
высота220 мм
масса590 кг
нормативный документСерия 1.090.1-2с

1ПК 30.6 Плиты перекрытий многопустотные (Серия 1.090.1-2с).

1ПК 30.6-12,5АIIIт-с

1ПК 30.6-4,5АIIIт-с

1ПК 30.6-6АIIIт-с

1ПК 30.6-8АIIIт-с

Плиты перекрытий многопустотные  и ребристые длиной 2980мм, армированные стержнями из стали класса А-III, длиной 5980 мм и 7180 мм, армированные предварительно напрягаемой арматурой из стали класса Ат-V. 

ПК -плита многопустотная;

ПР - плита ребристая.

Цифры, стоящие после буквенного индекса, обозначают округленные размеры длины и ширины конструкций в дециметрах. Вторая группа марки характеризует величину расчетной нагрузки в сотнях килограммов на квадратный метр, класс стали напрягаемой арматуры, вид бетона. Цифровой индекс перед маркой панели означает: для многопустотных плит наличие вырезов по продольной грани; для ребристых плит - наличие вырезов по продольной грани панели или расположение поперечных ребер.