ВБН 11.14.6

Чертеж изделия:
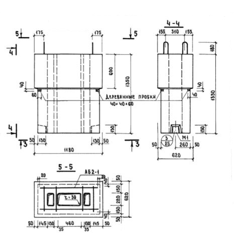
Характеристики изделия:
ПараметрЗначение
длина1180 мм
ширина620 мм
высота1350 мм
масса910 кг
нормативный документСерия 1.134-3

ВБН 11.14.6 Наружные вентиляционные блоки Серия 1.134-3.