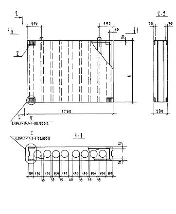
БВ 18.13.28 блоки вентиляционные

Чертеж изделия:
Характеристики изделия:
ПараметрЗначение
длина1780 мм
ширина280 мм
высота1280 мм
масса1170 кг
нормативный документСерия 1.134.1-15

БВ 18.13.28  Блоки вентиляционные Серия 1.134.1-15.