ПК 59.10 Плиты перекрытия железобетонные многопустотные

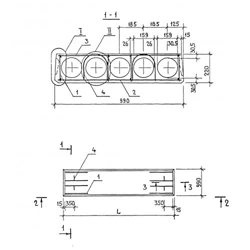
Чертеж изделия:
Характеристики изделия:
ПараметрЗначение
длина5880 мм
ширина990 мм
высота220 мм
масса1710 кг
нормативный документСерия 1.141-1

ПК 59.10  Плиты перекрытия железобетонные многопустотные Серия 1.141-1.