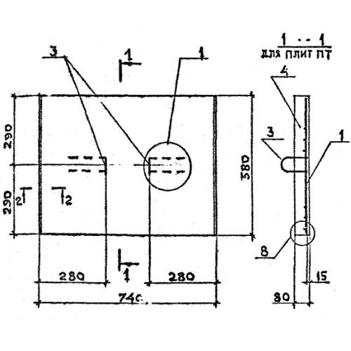
ПТ 75.60.8 плиты лотков

Чертеж изделия:
Характеристики изделия:
ПараметрЗначение
длина740 мм
ширина580 мм
высота80 мм
масса85 кг
нормативный документСерия 3.006.1-8

ПТ 75.60.8  Плиты перекрытий каналов Серия 3.006.1-8.