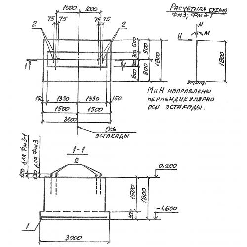
Фм 3

Чертеж изделия:
Характеристики изделия:
ПараметрЗначение
длина3000 мм
ширина1800 мм
высота1800 мм
масса10250 кг
нормативный документСерия 3.016.2-12

Фм 3  Фундаменты монолитные Серия 3.016.2-12.