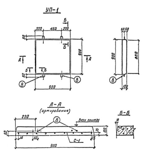
УП-1 плита
Характеристики изделия:
| Параметр | Значение |
|---|---|
| длина | 900 мм |
| ширина | 900 мм |
| высота | 120 мм |
| масса | 240 кг |
| нормативный документ | Серия 3.407-102 |
Цена:
Рассчитать стоимостьУП-1 Плиты Серия 3.407-102.
| Параметр | Значение |
|---|---|
| длина | 900 мм |
| ширина | 900 мм |
| высота | 120 мм |
| масса | 240 кг |
| нормативный документ | Серия 3.407-102 |
УП-1 Плиты Серия 3.407-102.