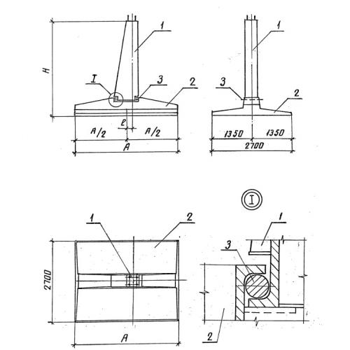
ФП 2.7-2.7 Фундамент составной

Чертеж изделия:
Характеристики изделия:
ПараметрЗначение
длина2700 мм
ширина2700 мм
высота5200 мм
масса6900 кг
нормативный документСерия 3.407.1-144

ФП 2.7-2.7  Фундаменты под анкерно-угловые опоры повышенные по Серии 3.407.1-144.