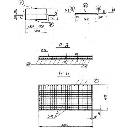
ПП 1 прокладочная плита

Чертеж изделия:
Характеристики изделия:
ПараметрЗначение
длина3600 мм
ширина1800 мм
высота200 мм
масса3300 кг
нормативный документСерия 3.407.9-158

ПП 1 Плиты подкладные по Серии 3.407.9-158.