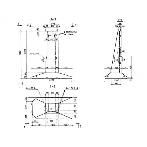
ФР 4

Чертеж изделия:
Характеристики изделия:
ПараметрЗначение
длина4500 мм
ширина2100 мм
высота3580 мм
вес12100 кг
серия3.501.1-131

ФР 4 Блоки фундамента раздельные по серии 3.501.1-131.