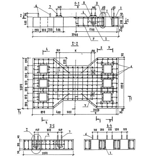
РС 1

Чертеж изделия:
Характеристики изделия:
ПараметрЗначение
длина3500 мм
ширина2050 мм
высота400 мм
вес5500 кг
серия3.501.1-153

РС 1 Ростверки свайные по серии 3.501.1-153.