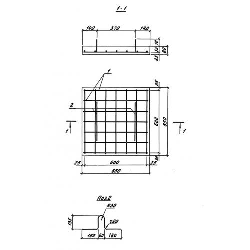
ОП 2 опорная плита

Чертеж изделия:
Характеристики изделия:
ПараметрЗначение
длина650 мм
ширина650 мм
высота80 мм
вес85 кг
серия3.501.1-16

ОП 2 Опорные плиты по серии 3.501.1-160.