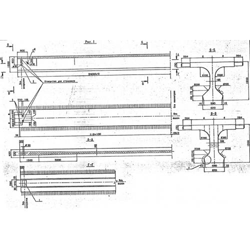
Б 2400.180.120 балка пролетного строения

Чертеж изделия:
Характеристики изделия:
ПараметрЗначение
длина24000 мм
ширина1800 мм
высота1200 мм
вес37000 кг
серия3.503.1-81

Б 2400.184.120  Балки пролетных строений по серии 3.503.1-81.